Ref No
Part Number
Description
Serial Range
Qty
Price
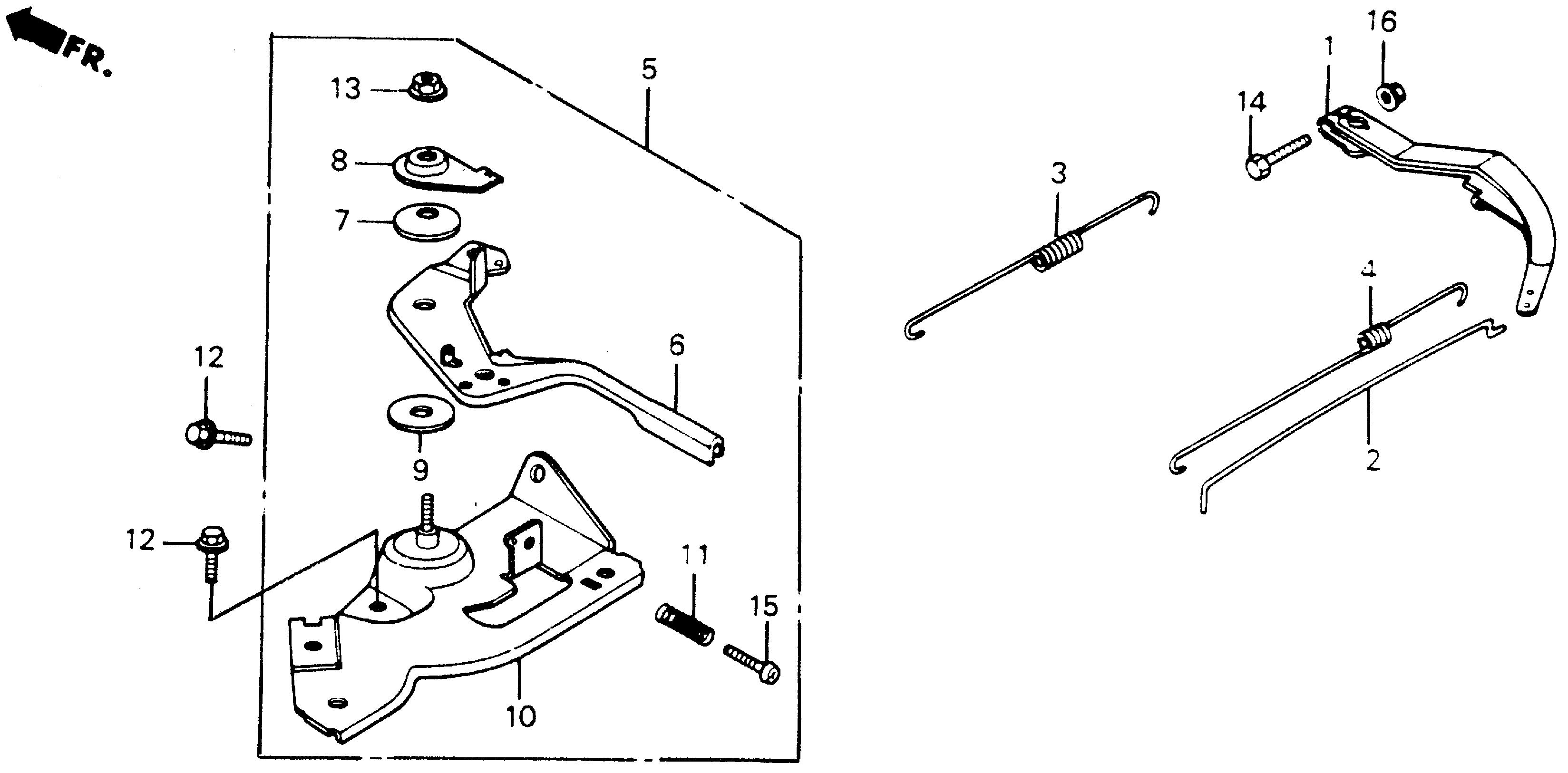
Ref No 1
Part Number 16551-ZE0-010
Description ARM, GOVERNOR
Serial Range 1000001 - 9999999
Qty
Price $15.20
Add To Cart
Ref No 1
Part Number 16551-ZE1-010
Description ARM, GOVERNOR
Serial Range 1000001 - 9999999
Qty
Price $15.20
Add To Cart
Ref No 2
Part Number 16555-ZE1-000
Description ROD, GOVERNOR
Serial Range 1000001 - 9999999
Qty
Price $4.44
Add To Cart
Ref No 3
Part Number 16561-ZE1-020
Description SPRING, GOVERNOR
Serial Range 1000001 - 9999999
Qty
Price $5.18
Add To Cart
Ref No 4
Part Number 16562-ZE1-020
Description SPRING, THROTTLE RETURN
Serial Range 1000001 - 9999999
Ref No 5
Part Number 16500-ZH8-020
Description CONTROL ASSY.
Serial Range 1000001 - 9999999
Ref No 5
Part Number 16500-ZH8-030
Description CONTROL ASSY.
Serial Range 1000001 - 9999999
Qty
Price $40.82
Add To Cart
Ref No 6
Part Number 16571-ZH8-020
Description LEVER, CONTROL
Serial Range 1000001 - 9999999
Qty
Price $14.10
Add To Cart
Ref No 7
Part Number 16574-ZE1-000
Description SPRING, LEVER
Serial Range 1000001 - 9999999
Qty
Price $4.12
Add To Cart
Ref No 8
Part Number 16575-ZH8-000
Description WASHER, CONTROL LEVER
Serial Range 1000001 - 9999999
Qty
Price $5.62
Add To Cart
Ref No 9
Part Number 16578-ZE1-000
Description SPACER, CONTROL LEVER
Serial Range 1000001 - 9999999
Qty
Price $5.22
Add To Cart
Ref No 10
Part Number 16580-ZH8-020
Description BASE, CONTROL
Serial Range 1000001 - 9999999
Ref No 10
Part Number 16580-ZH8-030
Description BASE, CONTROL
Serial Range 1000001 - 9999999
Qty
Price $24.56
Add To Cart
Ref No 11
Part Number 16584-883-300
Description SPRING, CONTROL ADJUSTING
Serial Range 1000001 - 9999999
Qty
Price $4.86
Add To Cart
Ref No 12
Part Number 90013-883-000
Description BOLT, FLANGE (6X12) (CT200)
Serial Range 1000001 - 9999999
Ref No 13
Part Number 90114-SA0-000
Description NUT, SELF-LOCK (6MM)
Serial Range 1000001 - 9999999
Qty
Price $3.90
Add To Cart
Ref No 14
Part Number 90015-ZE5-010
Description BOLT, GOVERNOR ARM
Serial Range 1770358 - 9999999
Qty
Price $3.06
Add To Cart
Ref No 14
Part Number 92101-06020-0A
Description BOLT, HEX. (6X20)
Serial Range 1000001 - 1770357
Ref No 15
Part Number 93500-05020-0H
Description SCREW, PAN (5X20)
Serial Range 1000001 - 9999999
Qty
Price $1.10
Add To Cart
Ref No 16
Part Number 94050-06000
Description NUT, FLANGE (6MM)
Serial Range 2637584 - 9999999
Qty
Price $0.82
Add To Cart