Tillers FR FR800 FR800 A FZAW-2000001-2099999 FR800 ENGINE BED - Ball Power Equipment

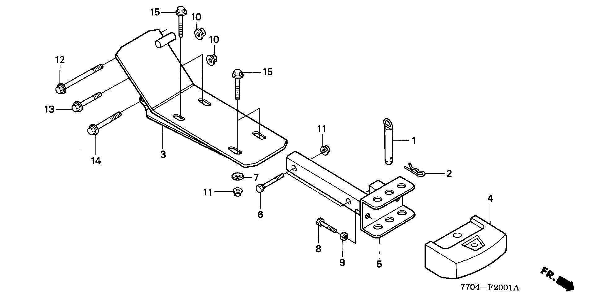
Ref No
Part Number
Description
Serial Range
Qty
Price

Ref No
1
Part Number
50620-723-000
Description
PIN, HITCH
Serial Range
1000001 - 9999999
Qty
Price
$24.60

Ref No
2
Part Number
50641-719-000
Description
PIN, LOCK
Serial Range
1000001 - 9999999
Qty
Price
$4.94

Ref No
3
Part Number
51110-770-700
Description
BED, ENGINE
Serial Range
1000001 - 9999999
Qty
Price
$463.24

Ref No
4
Part Number
59301-703-000ZE
Description
WEIGHT, FR. (8KG) *R280* (POWER RED)
Serial Range
1000001 - 9999999

Ref No
5
Part Number
59431-734-000
Description
HITCH, FR.
Serial Range
1000001 - 9999999
Qty
Price
$144.00

Ref No
6
Part Number
90104-728-000
Description
BOLT, HITCH
Serial Range
1000001 - 9999999
Qty
Price
$6.60

Ref No
7
Part Number
90501-579-020
Description
WASHER, EX. MANIFOLD
Serial Range
1000001 - 9999999
Qty
Price
$6.88

Ref No
8
Part Number
92201-08032-0A
Description
BOLT, HEX. (8X32)
Serial Range
1000001 - 9999999
Qty
Price
$2.10

Ref No
9
Part Number
94002-08000-0S
Description
NUT, HEX. (8MM)
Serial Range
1000001 - 9999999
Qty
Price
$1.60

Ref No
10
Part Number
94050-08000
Description
NUT, FLANGE (8MM)
Serial Range
1000001 - 9999999

Ref No
11
Part Number
94050-10000
Description
NUT, FLANGE (10MM)
Serial Range
1000001 - 9999999
Qty
Price
$1.94

Ref No
12
Part Number
95701-08080-00
Description
BOLT, FLANGE (8X80)
Serial Range
1000001 - 9999999
Qty
Price
$2.10

Ref No
13
Part Number
95701-08040-00
Description
BOLT, FLANGE (8X40)
Serial Range
1000001 - 9999999

Ref No
14
Part Number
95701-08055-00
Description
BOLT, FLANGE (8X55)
Serial Range
1000001 - 9999999
Qty
Price
$3.00

Ref No
15
Part Number
95701-10045-00
Description
BOLT, FLANGE (10X45)
Serial Range
1000001 - 9999999
Qty
Price
$3.64